Water Pumps WT WT30 WT30XK3 AC WABJ-1000001-1099999 LABEL@TOOL - Hemet Valley Tool & Supply

Ref No
Part Number
Description
Serial Range
Qty
Price

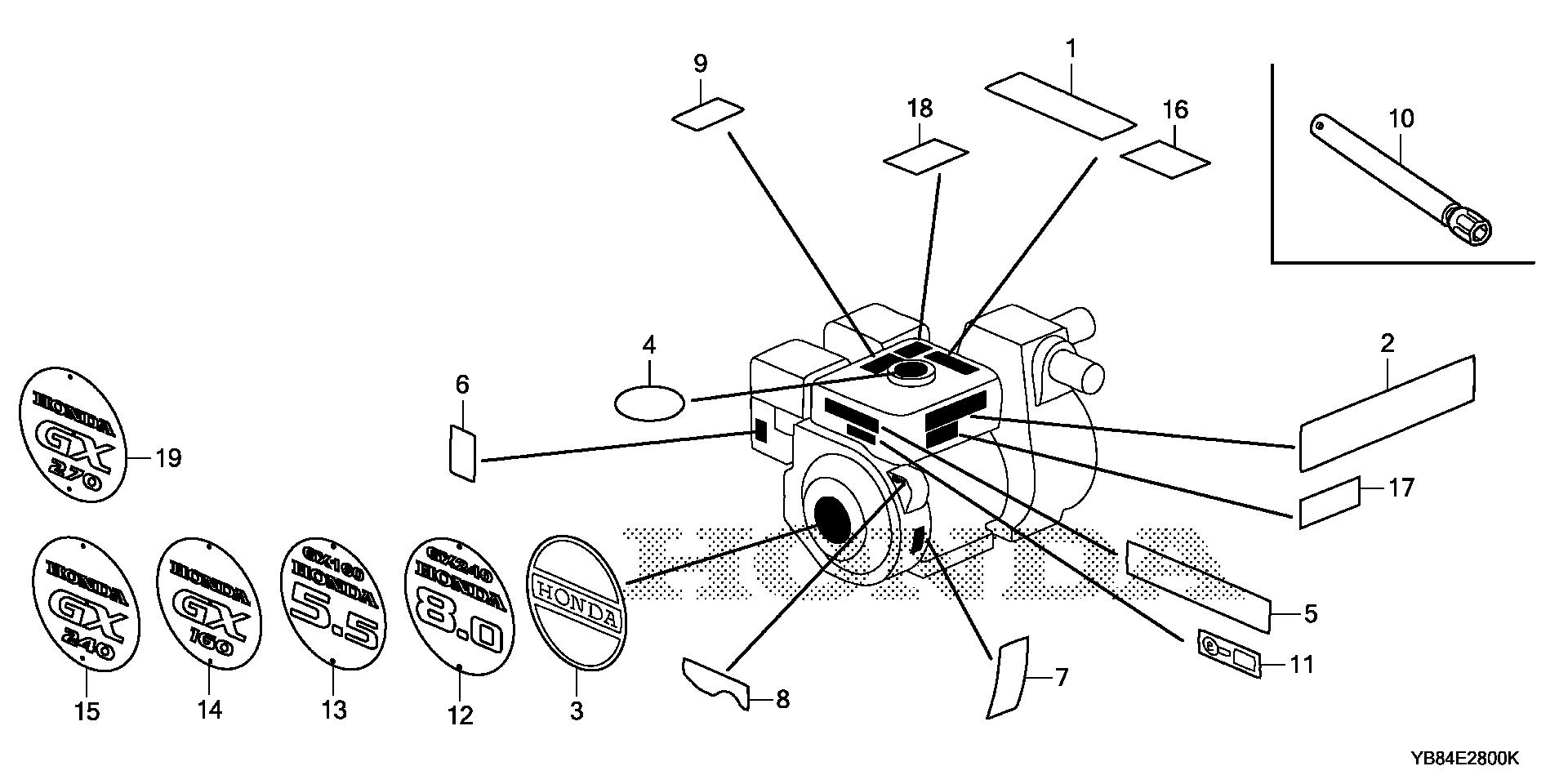
Ref No
5
Part Number
87522-ZH9-010
Description
LABEL, CAUTION (ENGLISH, ETC.)
Serial Range
1000001 - 9999999
Qty
Price
$4.90

Ref No
6
Part Number
87528-ZE2-810
Description
MARK, CHOKE (ORANGE)
Serial Range
2099790 - 9999999
Qty
Price
$3.22

Ref No
9
Part Number
87532-ZH8-810
Description
MARK, OIL ALERT (ENGLISH) (NOT AVAILABLE)
Serial Range
1000001 - 9999999

Ref No
9
Part Number
87532-ZH8-810
Description
MARK, OIL ALERT (ENGLISH) (NOT AVAILABLE)
Serial Range
2184089 - 9999999

Ref No
10
Part Number
89218-ZE1-000
Description
WRENCH, SPARK PLUG
Serial Range
4916731 - 9999999
Qty
Price
$20.56

Ref No
12
Part Number
87521-ZE2-W02
Description
EMBLEM (8. (HONDA)
Serial Range
1000001 - 9999999
Qty
Price
$8.20